
Study shows Ohio freeway median cable barriers stop vehicles from crashing into oncoming traffic
As America slowly reopens and people resume hitting the open road, travelers through the Buckeye State can rest assured
2020-06-17 [news]

Chevy Unveils New LS427/570 Crate Engine
A perfect V8 for your next project.Are you tired of tiny turbocharged engines that lack character? Well, Chevy is now se
2020-06-15 [news]

Stiffer roadways could improve truck fuel efficiency
Every time you hear a deep rumble and feel your house shake when a big truck roars by, that's partly because the weight
2020-06-15 [news]

Early Nissan LEAF Ditches 24 kWh Battery For 64 kWh Pack And Range Shoots Up
This is a modification some Leaf owners may really be interested in doing, especially if they dont want a new EV.TheNiss
2020-06-12 [news]

Self-driving cars that recognize free space can better detect objects
It's important that self-driving cars quickly detect other cars or pedestrians sharing the road. Researchers at Carnegie
2020-06-12 [news]

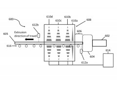
Tesla Submits Patent for Extruded Aluminum Quenching Process
Tesla, Inc. submitted a patent application, titledSystem and Method for Facilitating Pulsed Spray Quench of Extruded Obj
2020-06-09 [news]

Elonroad teams with Hydro to build road that dynamically charges electric vehicles
The Swedish start-up company Elonroad is looking toward the future of automotive by constructing a road that charges ele
2020-06-09 [news]

What does it mean to be a metal? How is a metal formed? These seem like textbook questions with a simple answer: Metal i
2020-06-08 [news]

Research powers longer lasting rechargeable batteries
With the continuous improvement of electronics, the development of high-energy power supplies has become a key link in t
2020-06-04 [news]

Hydrogen cars won't overtake electric vehicles because they're hampered by the laws of sci
Hydrogen has long been touted as the future for passenger cars. Thehydrogen fuel cell electric vehicle (FCEV), which sim
2020-06-04 [news]

Portable EV Charger Is The Future Of Roadside Assistance
SparkCharge, a leading provider of EV charging equipment, might have found the answer to stranded EV driverswho have run
2020-06-03 [news]

Driver death rates remain high among small cars
Despite manufacturers efforts to make them safer, the smallest late-model cars remain the most dangerous, according to t
2020-06-03 [news]

Audi announces upcoming new ‘highly efficient electric car’
Audi today announced the launch of a new team group called Artemis, and they plan to develop an efficient electric car t
2020-06-02 [news]

If all cars were electric, UK carbon emissions would drop by 12%
The COVID-19 lockdown has led to reduced pollution and emissionsin the UKandaround the world, providing a clear indicati
2020-06-01 [news]

Steel Muscle in New Vehicles----Kia Rio
Kia Rio, 30 Percent More AHSS,Rios solid structure makes use of Advanced High-Strength Steel to increase durability, co
2020-05-29 [news]

Steel Muscle in New Vehicles----Kia Optima
Kia Optima PerformanceSafety with HSSThe 2016 Optima features a uniquely engineered body that combines various high-tens
2020-05-29 [news]

Future Renaults and Nissans will share even more parts and tech
Tokyo - The Renault-Nissan alliance announced on Wednesday that it plans to share more vehicle parts, technologies and m
2020-05-28 [news]

Rio Tinto Working to Produce Scandium for Scandium-Aluminum Master Alloys
Rio Tintoresearchers have developed a new process to extract high purity scandium oxidea critical mineralfrom by-product
2020-05-28 [news]

Battery reuse systems could be profitable for electric vehicle companies and grid-scale solar operat
As electric vehicles rapidly grow in popularity worldwide, there will soon be a wave of used batteries whose performance
2020-05-28 [news]

Engineers develop near-zero emissions engine technology
Southwest Research Institute engineers have developed the next generation of clean diesel engine technology to reduce ha
2020-05-27 [news]