蔚来汽车陆续开始交付首批量产的纯电动SUV ES8。蔚来汽车提供了基准版44.8万,创世版54.8万两种版本。如果采用电池租用的话更是再减10万元(34.8-44.8万)。对应电池的月租费用为1280元/月。纯电动ES8配备了70kWh的大容量锂电池组,综合工况续航里程335km。蔚来汽车提供了包括换电在内的多种充换电模式,整个换电过程只需要三分钟。关于蔚来汽车的换电技术,随着小星通过相关专利来了解一下吧

↑NIO ES8车型纯电动动力总成(摄于2017年上海车展)
蔚来汽车提供了多种的充换电模式,给了消费者多种选择。消费者可以根据自己的情况选择充电或者换电。
1. 通过家用充电器,可用10小时将电池充满
2. 通过50kW快速充电器,可用1个多小时将电池充满
3. 可用APP召唤移动充电车,可用10分钟获得100公里的续航
4. 可将车辆开至换电站,通过3分钟更换全新电量的电池
5. 可用APP召唤换电服务,到指定地点将空电池取下充电后送回
↑蔚来汽车移动充电车服务
基于专利技术保证换电的可靠性和效率。早期就有新能源出租车市场的换电服务试水,换电过程必须引入自动化装置,否则人工换电周期长,成本高且可靠性存在问题。这边要提一下特斯拉,特斯拉对于换电也是有相应的技术储备的。从技术专利看,特斯拉目前可以支持15分钟的全自动换电服务。但是目前特斯拉对这项服务的要求十分苛刻。要求客户提前很久预约,且对客户的电池以及服务网点有严格的限制。而蔚来汽车则通过如下专利将全自动换电服务的时间缩短到了3分钟。且通过特殊的专利锁定装置保证了可换电电池组的整体可靠性。
↑蔚来汽车专利快速换电机构
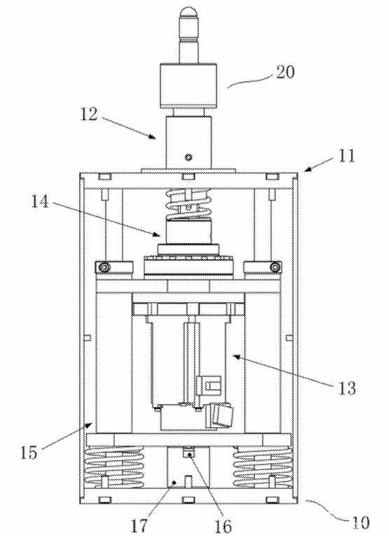
电池加解锁装置上设置有扭矩传感器。该扭矩传感器能够检测电池加解锁装置对电池枷锁或者解锁时的扭矩值。并将检测到的扭矩值传送给控制系统。相应的传感器还能检测到加解锁时的转动角度,以确保保证扭矩的前提下,转动角度不会过大或过小。并能够通过控制系统实时监控加解锁装置的磨损程度。
↑蔚来汽车快速换电锁止机构专利申报图
具体来看一下换电站的结构。换电站包括两大部分:换电平台和充电平台。换电平台的停车底座上设置有汽车定位系统和举升装置。当电动汽车需要进行换电时,待换电的电动车停放在换电平台的停车底座上。通过汽车定位系统定位后通过举升装置将电动汽车举升到一定高度。然后由换电系统对电动汽车进行换电。并将换下的电池运送至充电平台的电池架上。
↑蔚来汽车快速换电站专利申报图
我们通过蔚来汽车快速换电站系统组成专利申报图来看一下换电站的各个单元。换电站包括之前提到的换电平台和充电平台以外,还包括换电系统和控制系统。控制系统包括充换电控制模块、通讯模块和人机交互界面。用户可以通过人机交互界面操作控制系统进行管理。通过通讯模块,将换电站各种设备及电池状态上传至云服务系统。换电系统主要通过换电机器人小车实现换电平台和充电平台之间的电池更换。换电平台包括汽车定位系统、举升系统和安全装置。充电平台指由电池存储模块和起降机模块组成的充电架。
↑蔚来汽车快速换电站系统组成专利申报图
蔚来汽车快速换电站进行自动换电的工作过程如下:电动汽车沿引导斜坡倒车进入换电平台,通过汽车定位系统将自动调整到一定的位置,换电系统从充电平台获取充满电的动力电池,移动到电动汽车下方,进行电池更换,然后将取下的低电量电池送入充电平台开始充电。换电完毕后,电动汽车正向使出换电平台。整个换电过程由控制系统进行管控,控制系统与上层云服务系统进行通信与信号交互,实时传递站点当前各种设备及电池状态。
↑蔚来汽车快速换电流程专利申报图
在多达10个电池加解锁装置和电池锁止机构的帮助下,快速换电机器人的伺服电机更够自动快速地对电池组进行加锁和解锁。整个换电的过程为取换电小车的车座设置的电缸能够驱动第一定位销插入第一定位销孔内。然后换电平台在举升机构的驱动下上升,使第二定位销插入到第二定位销孔中,进行第二次定位。这样使得换电小车对动力电池的定位更精确。

↑蔚来汽车快速换电机器人爆炸视图
通过伺服电机对动力电池加解锁装置进行解锁。解锁完成后电池加解锁装置复位。低电量电池随换电平台下降,并被取换电小车运走。在充电平台与满电电池交换,并运送满电电池到电动汽车下方就位。第一定位销再次上升插入第一定位销孔,然后换电平台顶升电池到电动汽车内。通过伺服电机对动力电池加解锁装置进行加锁。加锁完成,加锁装置复位,进而换电平台复位,整个换电完成。
↑蔚来汽车快速换电机器人专利申报图
以上通过蔚来汽车相关专利的介绍,小星带大家了解了换电站能够在3分钟内全自动完成换电的技术细节。蔚来汽车通过换电站的换电服务给广大客户提供了一种新的选择。随着深圳等城市陆续部署相应的换电站,蔚来汽车将在多个城市建立总计1100个换电站。希望购买ES8的用户很快能够体验到相应服务的便捷。







