4月9日,按照《乘用车企业平均燃料消耗量与新能源汽车积分并行管理办法》(工业和信息化部 财政部 商务部 海关总署 市场监管总局令 第44号)要求,工信部官网将企业递交的2018年乘用车企业平均燃料消耗量与新能源汽车积分(以下简称双积分)执行情况年度报告进行公示。(详情点击此处)此次主要公布了112家境内车企以及29家进口车企的双积分情况,具体情况如下:

● “买分大户”以合资公司为主
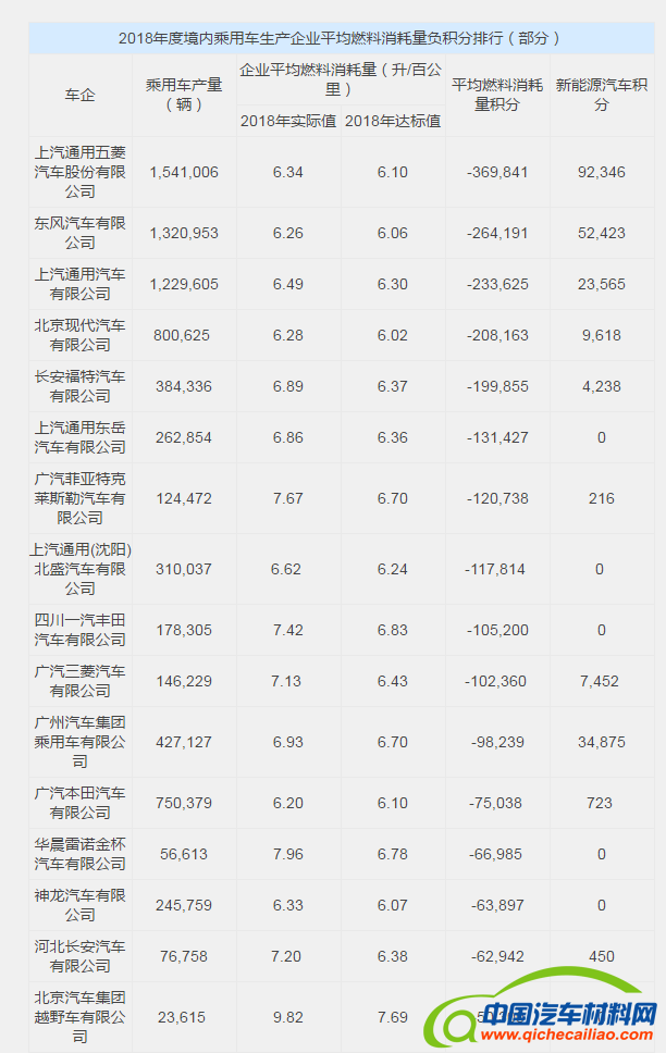
总体来看,境内乘用车生产企业中,有接近40%的车企燃料消耗量积分为负。我们列出了平均燃料消耗量负积分较多的企业名单,如下表所示:

● “卖分大户”以中国品牌为主
与此同时,我们也列出了平均燃料消耗量正积分的排行,通过下表可以看出,像上汽、比亚迪、奇瑞、江淮、北汽新能源等都是“卖分大户”。

相比之下,2018年度进口乘用车供应企业平均燃料消耗量与新能源汽车积分情况表现就比较差一些。29家进口车企中,以特斯拉、保时捷、沃尔沃为代表的仅七家车企的燃油积分为正,较大一部分进口车在华将面临着购买积分的处境,以梅赛德斯-奔驰(中国)汽车销售有限公司为例来说明,其2018年供应产量178,039辆,平均燃料消耗量积分为-92,580,新能源积分为0。若以1000元一个积分来算,所需购买积分的金额将接近一亿元人民币。
据了解,燃料消耗量积分负积分未抵偿企业将会受到暂停高油耗产品申报、暂停高油耗产品生产等处罚,新能源汽车积分负积分未抵偿企业则会受到高油耗产品暂停生产等处罚。发展好的新能源车企可以通过出售积分赚钱,对新能源产品布局较短缺的车企面临的是花钱买积分以及燃油车停产等风险。







