特斯拉认识到,数据变得越来越复杂,需要新的传感器。根据该项专利,需要定制数据管道,可以最大限度地从传感器数据中获取信号信息,并为深度学习分析深度学习网络提供更高级别的信号信息。
该系统将使用车载传感器或摄像头捕捉图像,例如高动态范围摄像头、摄像头传感器、雷达传感器或超声波传感器。然后,高通或低通滤波器将图像分解。最终,一系列处理器将破译图像的含义。
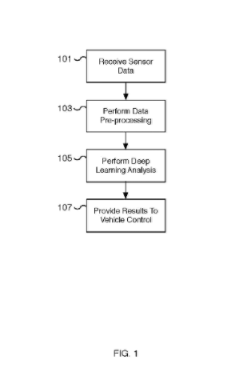
以下专利流程图描述了车辆学习信息的过程。首先,系统接收传感器数据。其次,系统会对数据进行分解和预处理。然后,进行深度学习分析。最后,研究结果将被传输到车辆AI处理器,用于车辆控制。

(图片来源:美国专利局/特斯拉)
在另一过程中,从这些图像中获取的信息将与其他特斯拉用户收集的数据进行比较,从而缓解驾驶员对于自动驾驶系统可能执行错误程序的担忧。该专利旨在打造安全的驾驶体验,并且更加高效地改进特斯拉自动驾驶软件。
利用这一过程,特斯拉能够使车载摄像头和传感器获取的图像保持尽可能高的分辨率。这样,神经网络就可以更高效地从其接收的数据包中学习,并且更有效地处理更高质量的图像,从而更快地改进自动驾驶。这些改进功能可与特斯拉Hardware 3计算机提供的功能配合使用,Hardware 3专门为内置冗余系统的全自动驾驶而设计。
该项专利以特斯拉全自动驾驶套件为基础,表明了该公司正努力完善其软件性能。该项专利不仅会为特斯拉车主带来更安全的驾驶体验,也会加速实现全自动驾驶。







