
据外媒报道,当地时间8月28日,iPhone 制造商-苹果公司提交了一份名为“动态座椅触觉反馈”的专利申请文件,该专利描述了一款未来座椅,可以各种方式与乘客互动。
未来座椅可通过振动信号提醒用户或是可自己折叠,让乘客处于更安全的位置,可能用于提高自动驾驶汽车的安全性,苹果公司一直在“泰坦项目”中测试配备了传感器和摄像头的自动驾驶雷克萨斯(Lexus)SUV。
自动驾驶雷克萨斯SUV的座椅配备了传感器,可触发“触觉反馈系统”,振动以提醒驾驶员注意安全。当汽车转向某个特定方向时,现有系统可能会发出哔哔声,但是该专利提出,如果汽车在行驶过程中偏离车道线,座椅就会振动。
该专利指出,该方法会接收与汽车外部环境条件相关的外部信息,确定基于外部信息应用反馈,基于外部信息与预定状态的偏差程度计算出反馈水平,再根据反馈水平启动座椅组件。
该触觉反馈系统将使用单个或多个中央处理单元操作。简而言之,车载计算机将分析外部条件,并在感知到乘客可能遇到生命危险的情况下(如汽车在移动过程中,行驶轨迹发生重大变化),提醒乘客。

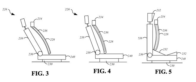
该专利的另一部分是,建议打造可以折叠成不同形状的座椅,以避免乘客受伤。例如,座椅倾斜角度可更大,以使乘客处于更安全的位置,还可以增加驾驶员安全带张力或是抬高座椅高度。
苹果公司在该专利中指出,其主要适用于汽车在自动驾驶模式下在使用的情况。该专利解释表明,“控制单元”将指示座椅从后仰位置移动到前倾位置,从而为驾驶员提供“更直立的姿势”。位置变化可为驾驶员提供最佳环境视角,并发出信号通知驾驶员需要手动控制车辆。例如,如果任何车辆传感器探测到不佳的驾驶条件或是激进的驾驶行为,则可以调节座椅后仰的倾斜角度,以调节座椅安全带的张力。







