颠覆不仅仅来自于制造技术,更来自于以功能导向的设计。
如今,根据3D科学谷对GE于2020年3月17日刚刚获得的专利的市场观察,GE最新获得了一项燃油喷嘴的专利,燃油喷嘴这一革命性的产品,正在完成自身的不断的迭代。
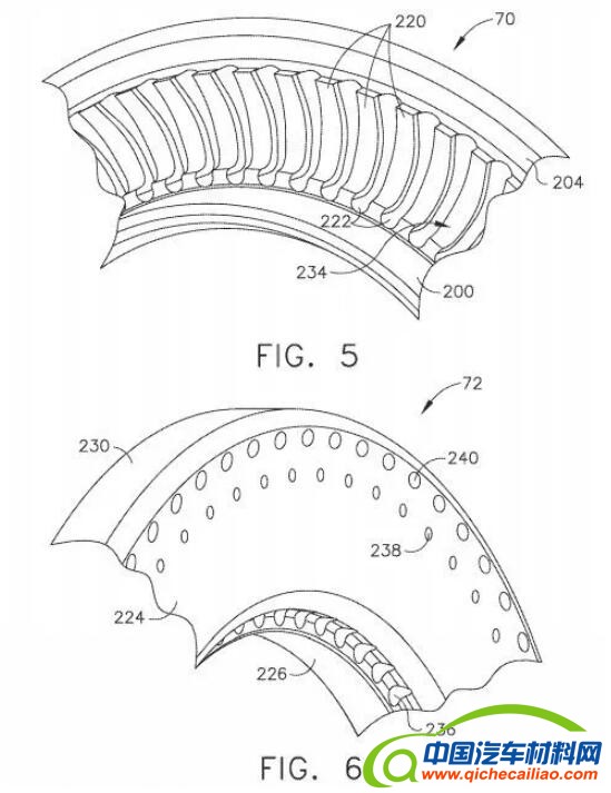
来源:US10591164B2
复杂成就功能实现
GE通过3D打印的用于燃气涡轮发动机的燃油喷嘴包括如下等受专利保护的设计:
来源:US10591164B2
环形外部主体:环形外部主体平行于中心线轴线延伸,并且具有在前端和后端之间延伸的外表面,其中,多个开口穿过外表面;
环形主喷射环:其设置在环形外部主体的径向内侧,该环形主喷射环包括延伸的主燃料通道;
多个主燃料孔口:每个主燃料孔口与主燃料通道连通并与环形外部主体的开口之一对准。
环形文丘里管:设置在环形主喷射环的径向内侧,环形文丘里管包括具有最小直径的喉部,喉管上游的大致圆柱形部分,喉管下游的发散部分;
来源:US10591164B2
环形分离器:设置在环形文丘里管的径向内侧,该环形分离器包括在内壁和外壁,内壁和外壁在前端处接合在一起,内壁和外壁朝向彼此会聚以在环形分离器的后端处接合在一起,以及它们在前端和后端之间彼此间隔开以限定分离腔,其中,外壁的上游部分具有第一轮廓,该第一轮廓从前端向后端收敛,环形文丘里管的上游部分的第二轮廓,至少一直到喉部。
涡流叶片:在环形文丘里管和环形分离器之间延伸的一系列外部涡流叶片,其中,外部旋流叶片通道在外部旋流叶片的下游延伸至来自外部旋流叶片的气流的出口,该出口在环形文丘里管和环形分流器的后端之间的周向限定在喉部下游的轴向位置处。
来源:US10591164B2
在分流腔与环形分流器的后端之间连通的多个排放孔相对于中心线轴线成锐角,以使从那里排出的空气相对于中心线轴线产生涡流。并且其中空气从多个排放孔排放,使得来自内部旋流器叶片的气流的出口与平面重合。
与现有技术相比,GE通过3D打印-增材制造的燃料喷嘴具有多个优点。它提供了分流有效冷却的方法,并具有良好的空气动力学和声学特性。分析表明,中空分流器,螺旋形旋流叶片和复合角文丘里管在燃料喷嘴中组合使用时特别有利。







