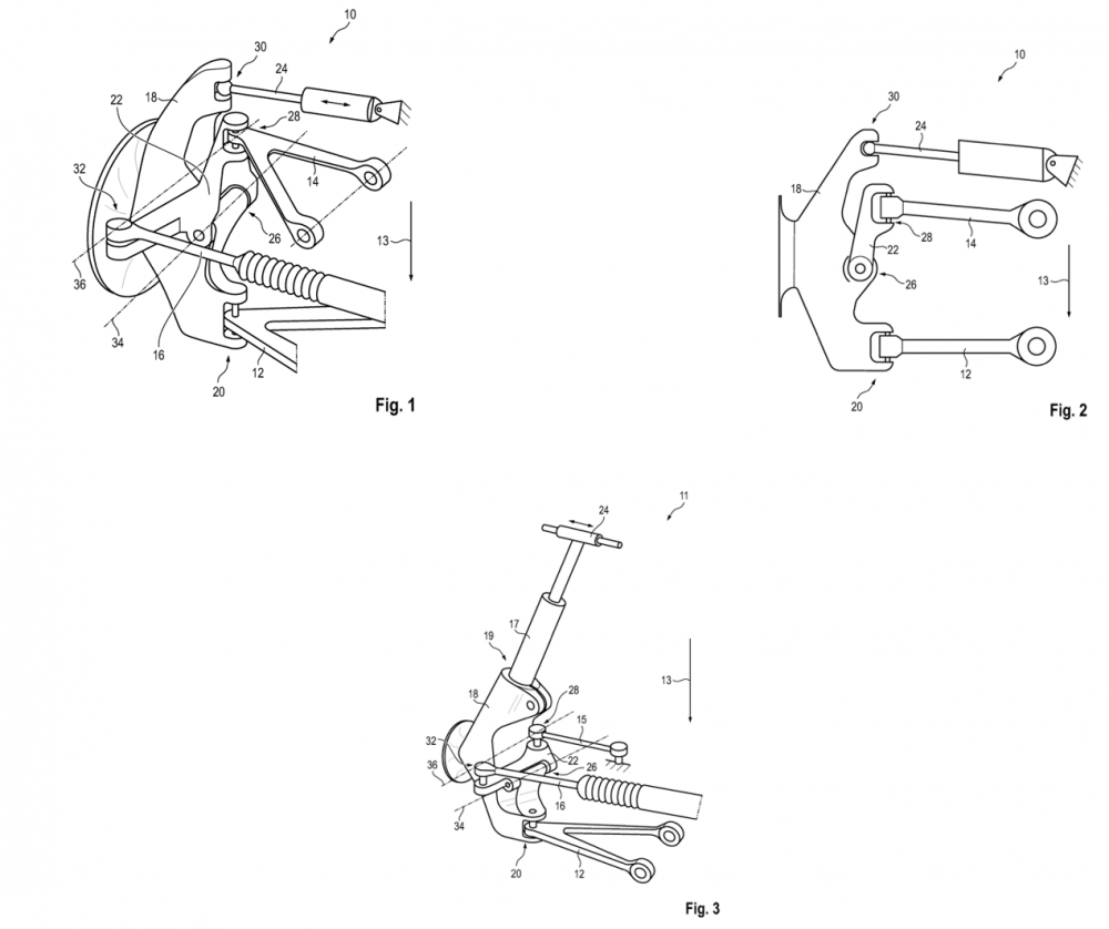
在双叉骨悬架系统中,安装在轮架上的下叉骨/横拉杆保持不变,但包括转向臂在内的上叉骨增加了一个执行器。致动器背离轮架的一端连接至车身或转向齿轮,并连接至减震器组件的顶部。通过调整减震器最高点与车身的距离,同时保持其最低点固定在轮架上,从而影响车轮的外倾角。

49.7K庭的终极妈妈车或爸爸车
该系统还可以与麦弗逊悬架一起使用,因为它非常简单;它只不过是减震组件顶部的一根螺纹杆,可以通过使用执行器来延长和缩短。这意味着无需将汽车抬离地面即可调整外倾角。992保时捷 911 GT3 RS已经提供了修改回弹和压缩值的功能无需离开汽车即可对每个车轮的悬架进行调整,我们认为保时捷也可以轻松地使其成为外倾角调整的可能性。然而,该专利并没有具体提到定制外倾角值的能力,只是即时改变它们。意思是,这项技术可能会根据传感器和软件或在预定值之间自动工作。

保时捷特别指出,外倾角调整可能会导致不必要的前束角,从而对转向能力产生负面影响。该专利讨论了纵向力(例如加速和制动期间所经历的纵向力)如何通过转向杆传递到顶部横拉杆(在双横臂设置中)。这会以非常微小的方式影响前束和外倾角,但如果汽车的悬架可以抵消这些力以保持一定的外倾角或前束值,理论上应该可以提供更大的抓地力,汽车的操控性会更好,单圈时间也会下降。
保时捷一直在寻找提高性能的方法,无论是通过主动冷却制动器的新方法还是调整悬架的新颖方法,而这项最新专利进一步证明了保时捷将始终致力于生产世界上最优秀的驾驶汽车。







