

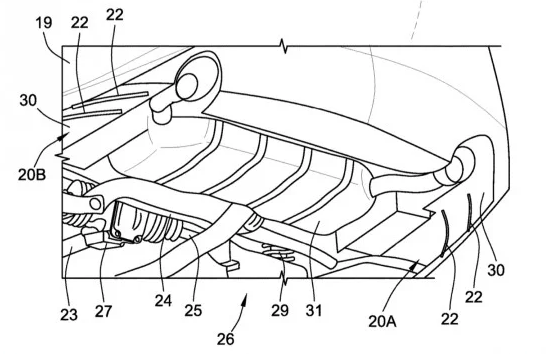
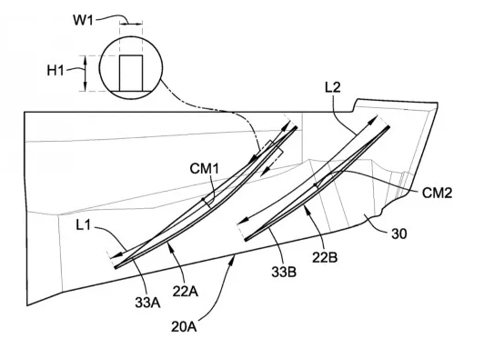
为了提升车辆的空气动力学表现和燃油效率,假设车辆配备了一个或多个车身底部面板,此类面板可能具有一个或多个拉长的空气边条,专利中给出的例子显示,此类空气边条有助于引导气流,让气流沿着车辆底架前后移动,从而增加车辆尾部的静压。该专利声称,此类空气边条可将空气阻力减少至少0.004 CD,相当于让每辆车二氧化碳排放减少1.9g/英里。该专利指出,工程师们的目标是采用轻质材料,如碳纤维复合材料、聚乙烯、聚醚以及类似物质,以及钢、铝和钛合金等,使上述组件尽可能轻量化。车身底部面板既可内嵌于整个车身面板中,也可通过特定的紧固件将其粘在车身面板上。

提高车辆的空气动力学效率可让车辆更加适应高速行驶,除了可改善稳定性之外,空气边条还可通过减少阻力以改善空气动力学特性来提高车辆的燃油效率。如果车辆阻力太大,就不能像空气动力学性能更好的车辆一样滑行,因而就会需要车辆的动力系统提供更多动力以保持行驶。
该专利提出,在设计车辆后底部面板时,应该在特定角度创造特定脊线,控制空气流动,从而使车辆效率得以提高。
随着排放法规和燃油经济性标准的不断提高,通用汽车以及其他汽车制造商将被迫创新,将更清洁、更高效的汽车推向市场。在提及替代燃油车时,减重和提升车辆空气动力学效率就是两个作用越来越关键的因素。







