【中国汽车材料网】日前,奥迪的《机动车辆的牵引电池》专利公布,这个电池系统有点像是PPE的电池方案设计。我们从这个专利里面可以解读出PPE在之前的E-tron和MEB平台设计的差异性,还有这个比较矮的,适用于轿车的面向高端化的设计构思。

图1专利描述
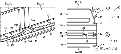
PPE模组结构
在下图中示意的展示了八个电池模块(模块壳体)和14八个可弹性变形的元件。
这个8个壳体往下细翻,可以看出PPE的模组设计方案,是建立在MEB的590基础上的。
这里设计的思路,是使用两个横向分割长度的模组,形成一个一体化结构的长模组设计,长模组之间含有中间隔板,将模组分为前后两个部分。
用专利的说法是,电池长模组包含下面的长模组壳体,主要包含两个对置的第一侧板(长边,我们通常称为侧板)和两个对置的第二端板(窄边),这两个板相拧接。

图2PPE的模组方案
现实来说,这个有点像之前蜂巢展示的一长条的CTP方案,如下图所示,这两个在结构上比较相似。
为了保证足够的压力,这里中间还是放置了隔板,可以兼容原有的软包和方壳电芯的方案。
也就是说,在这里两种不同的电芯放进去以后通过分隔板之后形成一体化,中间可以做电气分割,也可以直接进行串联,然后像下图蜂巢那样做的长模组直接进行连接点的串联以保证电气连接的简洁性。
专利的说法:侧壁21a、21b(软包的排布)和中间壁30(方壳的排布)尤其用于接收所谓的膨胀力,该膨胀力作为由电池模块的体积变化而导致的力,应对在对电池模块充电和放电时能够形成这样的体积变化。

图2蜂巢的CTP展示效果
在这个里面,有个很重要的特征,是模块壳体的底板,这个是把冷却板直接集成在这个里面,所以在两个对置的窄边上侧壁伸出冷却剂,这是考虑结构的简洁性,把电池的冷却板集成在底板上。
这块板由上下两部分拼接而成,通过两边和中间的接合,构造出了冷却液流道,如下图,由一端进,另一端出。
专利的说法备注:相应的模块壳体的底壁具有上板和下板,上板和下板在第一区段上彼此贴靠并且在彼此连接,并且其中所述上板和下板在第二区段上是彼此间隔开的并且形成冷却通道。

图3模组的冷却结构
从模组的角度看问题
在这个方案里面,我们能看到对于Pack的简化,把原来390&590的模组进一步强化。
奥迪的工程师的想法就是把模组变大,使得它具备通用性而且能够吸收相当的一部分Pack的功能,而Pack的外围就只有弹性保护、底板、外框和四周的壳体。
可以这么形象的说法,这里Pack倒是非常简化,模组做完以后就可以非常简单把保护件搭起来。严格来说,把保护的那部分放在车上,特别是外框集成底盘,这个路也是走得通的。
这里比CTP有两个大的优点,兼容软包和方壳,也同时把Pack简化了,而且能把一部分的东西设计在车里面。

图4PPE电池系统的整体结构
小结:相比MEB,PPE的电池设计还是费了很多的心思,也是努力在降低成本,尽可能把Pack的组装和设计简单化。这个好处模组之间是独立的,能拆,而且长模组前后两部分也可以分断,一定程度上维修性更好一些,我觉得这个东西设计的还是不错的。







