周二,美国专利商标局授予苹果一项名为 "跨传感器处理管道共享传感器数据 "的专利,其中,苹果公司提出在自动驾驶汽车系统内的多个过程中,可以对收集到的数据进行更多的协作。
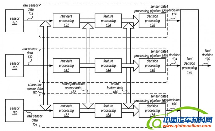
一个典型的传感器数据处理管道,最简单来说,就是将传感器收集到的数据提供给专门的处理系统,然后由该系统判断情况和相关的行动方案,再发送给其他系统。一般来说,来自传感器的数据将只限于一条管道,不会受到其他系统的实际影响,但苹果提出基于多个传感器数据的融合,做出融合感知决策。
此外,苹果公司还提出,这些数据可以更加细化,在每个管道的不同阶段做出决策并融合在一起。这些数据,可以在管道之间共享,并且可以影响其他流程,这些数据可以包括原始的传感器数据、经过处理的传感器数据,甚至是由传感器数据衍生的数据。
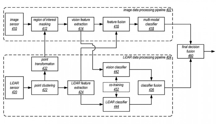
通过提供更多的数据点,控制系统在创建行动方案时将有更多的信息可供使用,可能会做出更明智的决策。苹果公司提到了这些管道可以用于连接不同类型的数据,例如第一条管道是用于图像传感器数据,而第二条管道使用LiDAR的数据。
将这些数据结合在一起,可以进行通常情况下仅靠一组数据不可能实现的判断。例如,LiDAR数据可以确定距离和深度,但它不能看到颜色,这在试图识别道路上的物体时可能很重要,而它可从图像传感器数据处理管道中获取颜色数据。
苹果公司每周都会提交大量的专利申请,虽然这些专利申请并不能保证苹果公司正在开发特定的功能或产品,但它确实显示了该公司研发工作所在的领域。










