手机版
二维码
选择频道搜索
行业资讯
材料智库
供应信息
材料检测
新材料馆
会议会展
知识商城
技术文库
企业库
求购
商圈
首页
行业资讯
材料智库
供应信息
材料检测
新材料馆
会议会展
知识商城
技术文库
企业库
求购
商圈
首页
>
行业资讯
>
零部件资讯
率先应用电动货车 特斯拉轮胎自动充气专利获批
日期:2022-03-01 来源:网通社
评论:0
核心提示:日前,网通社从海外媒体autoevolution获悉,特斯拉申请的轮胎自动充气专利系统获得批准,该系统能够最大限度保证轮胎压力,进而提升电动车辆充电后的最大行驶里程。该系统或将在未来率先应用到特斯拉纯电动货车Semi
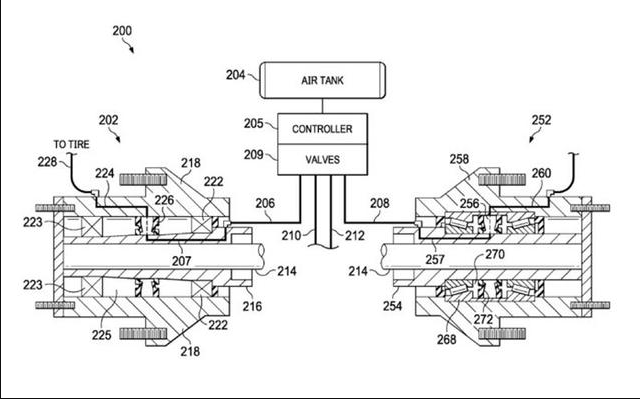
【汽车材料网】日前,网通社从海外媒体autoevolution获悉,特斯拉申请的轮胎自动充气专利系统获得批准,该系统能够最大限度保证轮胎压力,进而提升电动车辆充电后的最大行驶里程。该系统或将在未来率先应用到特斯拉纯电动货车Semi上。
轮胎充气系统包括一个主轴,其中第一个软管将由计算机控制的一个阀门
连接
到相应主轴中形成通道。驱动轴内轴承和外轴承之间也将有一个旋转空气密封件,可以通过引入阀门、控制器和多个出风口等方式防止车辆轮胎压力泄露,进而提升电动汽车充满电后的行驶里程。
标签:
轮胎
电动汽车
注:本网转载是出于传递更多信息之目的,并不意味着赞同其观点或证实其内容的真实性。
如果您有汽车材料相关文章,欢迎给我们投稿,Email:service@qichecailiao.com。
在线投稿
下一篇:
北汽集团与江西省政府签署合作协议
上一篇:
开发智能底盘 集度与采埃孚达成合作
打赏
更多
>
同类行业资讯
• 标配轮胎应急修补工具,让新能源汽车出行更安心
• 大陆集团扩大其轮胎中再生PET、再生钢和COKOON
• 赛轮集团拟在埃及建年产360万条子午线轮胎项目
• 玉米芯到轮胎!全球首个非粮生物基橡胶迈入万吨
• 乐高集团推出循环再利用材料制成的轮胎
• 固特异全速打造100%可持续材料轮胎
• 汉高携手4JET推出开创性电动汽车静音轮胎生产工
• 创新技术可减轮胎重10%,提升性能与续航
• 倍耐力:科学碳目标倡议确认了到 2040 年实现净
• 德国马牌发布全新第七代产品ExtremeContact XC7
0
条
相关评论
推荐图文
LG、三星、SK!韩国三
宝马官宣:将加大3D打
蔚来第200万台电驱动
“制动+转向”协同融
推荐行业资讯
赢创携手旭川化学,共同助力汽车内饰合成革行业的环保发展
科思创推出专为提升汽车抬头显示(HUD)安全和耐用性的创新薄膜解决方案
丰田合成开发适配下一代转向系统的新型方向盘
一汽铸锻电池箱体完成首批样件交付
理想与中车时代半导体,合作开发全新一代增程功率模块
加拿大汽车零部件供应商Uniparts引入3D打印维修新技术
宝马集团利用 3D 打印技术生产汽车零件和制造生产系统辅助工具
安徽阜阳:全球首条GWh钠离子电池生产线落成!
现代与米其林共同研发高端轮胎 用于电动汽车等车型
沃尔沃与布勒今天正式官宣超大型一体化压铸合作
点击排行
专访丨长安汽车 刘波博士:高强轻质零部件关键技术研发及应用
展会专访丨湖北博士隆技术总监 程志毅教授:轻量化新趋势下连接技术的新变革
跨国汽车零部件公司为何纷纷逆“势”投资中国市场?
“召回”带来汽车零部件转型发展新课题
一汽新能源汽车轻量化材料应用现状—— 一汽研发总院 李菁华
特斯拉上海工厂年内投产,零部件产业链谁将受益
看沃尔沃逆向黑科技,玻璃纤维代替弹簧,板悬玩出新高度
汽车轮胎平衡块/配重块粘贴解决方案
拓扑优化+3D打印 韩国推轻量化电动微型概念车
网站首页
|
关于我们
|
广告服务
|
用户注册
|
微信登录
|
实名认证
|
信息发布
|
材富通服务
|
隐私政策
|
招贤纳士
|
在线投稿
|
排名推广
|
广告服务
|
网站留言
|
帮助中心
|
网站地图
|
违规举报
皖ICP备10204426号-3
汽车材料网 版权©20012-2020 All Rights Reserved