长久以来电动车的安全问题一直困扰着人们,包括特斯拉在内的多次电动车起火事件让人心惊。近日,特斯拉申请了一项电池系统新专利,隔离短路或有起火风险的电芯,以防止其蔓延到整个电池组,从而提高电池包的安全性。



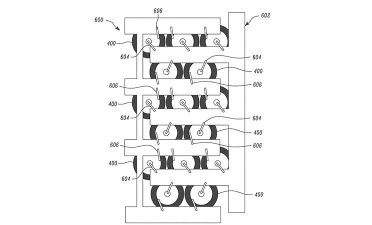
大部分电动车的电池包都是由诸多电芯紧密排列组成的,当电芯发生故障时,大量的热气体被释放,并迅速扩散到周围的电芯,这非常容易引起火灾。特斯拉为了解决这个问题,申请了一个专利,在每排电池电芯中间创建了一个连接层(inter-connectivity layer),当故障电芯释放热量并产生压力时,该区域会自动破裂,达到隔离的效果。这样一来,当单个或单组电芯出现起火时,可以阻止其蔓延在整个电池包的速度,从而提高整个电池包的安全性。

特斯拉在申请材料中表示,该隔离层可以使用聚合物的绝缘材料或其他类型的绝缘材料,并在里面包含冷却或者加热管道,从而保证电芯的温度在合理的工作范围之内。







