手机版
二维码
选择频道搜索
行业资讯
材料智库
供应信息
材料检测
新材料馆
会议会展
知识商城
技术文库
企业库
求购
商圈
首页
行业资讯
材料智库
供应信息
材料检测
新材料馆
会议会展
知识商城
技术文库
企业库
求购
商圈
首页
>
行业资讯
>
汽车铝镁合金
立中集团和清华大学成功联合研发新型高导电、高导热压铸铝合金
日期:2024-04-11 来源:中华压铸网
评论:0
核心提示:近期,清华大学熊守美教授在技术报告中公开了一种由立中集团与清华大学联合研发的高导电、高导热压铸铝合金LZTH-HTC01合金。LZTH-HTC01合金为Al-Fe-Ni系合金,该合金适用于压铸成型工艺,也适用于钎焊工艺。主要应用
近期,清华大学熊守美教授在技术报告中公开了一种由立中集团与清华大学联合研发的高导电、高导热压铸铝合金——LZTH-HTC01合金。
LZTH-HTC01合金为Al-Fe-Ni系合金,该合金适用于压铸成型工艺,也适用于钎焊工艺。主要应用于对导热导电有较强功能性需求的结构件材料:如3C、通讯、电子、电力、新能源汽车、高转速电机转子等。
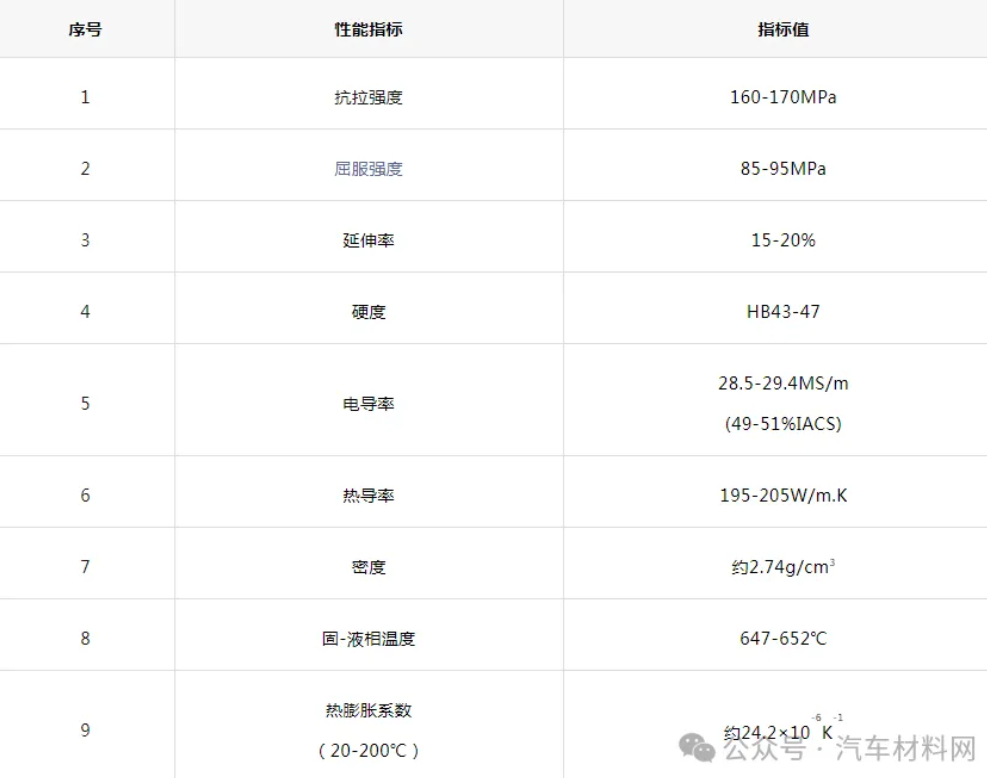
报告中,熊守美教授汇报了LZTH-HTC01合金的关键性能指标,具体如下:
目前,该材料已申请国内发明专利(申请号:2024101703084)。
立中集团经过40年的发展,始终坚守着对高端铝合金新材料的研发和创新。作为行业的佼佼者,立中集团与多家大学、科研机构和国内外客户紧密合作,共同研发多款新型铝合金材料,并赢得了下游客户的青睐,成为其战略供应商和优秀供应商。展望未来,立中集团将继续秉承“综合平衡各种使用性能指标,追求优异性价比”的新材料研发宗旨,为行业发展贡献力量。
标签:
汽车材料
压铸
汽车用铝
注:本网转载是出于传递更多信息之目的,并不意味着赞同其观点或证实其内容的真实性。
如果您有汽车材料相关文章,欢迎给我们投稿,Email:service@qichecailiao.com。
在线投稿
下一篇:
上海光机所“铝硅镀层热成形钢直接激光填丝焊接技术”的优势与应用
上一篇:
热成形技术是一体成型车身必备黑科技
打赏
更多
>
同类行业资讯
• 【新车新材料】东风日产N6 180 Pro+车型用材解
• 安道拓发布创新产品,革新汽车座椅面套工艺
• 首钢锌基热成形钢热气胀零件首发首用!
• 中复神鹰,成功突破实验室级T1200超高强度碳纤
• 攀钢 2000MPa 级高韧性热冲压钢批量生产成功
• 世索科携手伙伴成立新公司入局固态电池
• 应对高磨耗量与噪音挑战:欧盟PFAS法规下的零部
• 【新车新材料】领克08 EM-P超长续航Ultra版车型
• 宝马创新回收工艺,年处理量将达数十吨级
• SABIC与理想汽车联合创新成果斩获第十届铃轩奖
0
条
相关评论
推荐图文
镁压铸开发新高度!镁
红旗轻量化镁合金座椅
特斯拉全新一体化压铸
2026款小鹏P7+成为全
推荐行业资讯
热成形与铸铝连接新技术----自穿刺点焊SWOP工艺
赛力斯率先研发面向量产的大型一体化压铸镁合金后车体
魏桥创业集团与极石汽车成立轻量化联合实验室
万丰集团携手庞巴迪共探镁合金领域的更多创新解决方案
比亚迪在深圳深汕合作区投建一体化压铸项目
一体化压铸为何如此火热?解析背后的产业链!
立中集团:持续加快免热处理合金量产进程
陈爱莲:加快镁合金产业在汽车轻量化中应用
诺贝丽斯在镇江投建在华首个汽车用铝闭路循环回收系统
特斯拉铝合金专利:以更低成本生产更坚固的电动汽车
点击排行
汽车铝合金车身连接技术应用与实践——奇瑞新能源 茅卫东
中国汽车工业用铝量评估报告出炉 铝材料的好助攻或是新能源汽车
韩国成功研发铝合金表面超疏水技术
最新中国铝车轮厂名单(191家)
宁夏灵武年产3万吨节能铝合金型材项目开始试生产
中铝业首席工程师 赵丕植——汽车轻量化先进铝合金板材及成形技术的研究开发进展
2020年(国际)新能源汽车材料技术研讨会暨展示会
南山铝业:持续提升高端产能 扩建10万吨汽车轻量化铝板生产线
全国首辆 12米 客车镁合金车身骨架交付银隆
网站首页
|
关于我们
|
广告服务
|
用户注册
|
微信登录
|
实名认证
|
信息发布
|
材富通服务
|
隐私政策
|
招贤纳士
|
在线投稿
|
排名推广
|
广告服务
|
网站留言
|
帮助中心
|
网站地图
|
违规举报
皖ICP备10204426号-3
汽车材料网 版权©20012-2020 All Rights Reserved