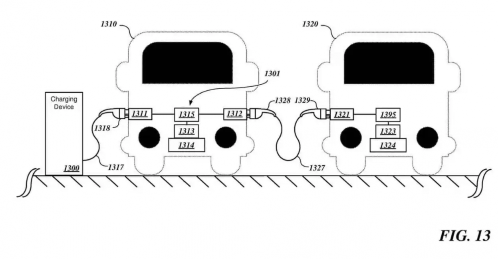
近日美国专利商标局 (USPTO) 公布了Rivian的一项专利申请。Rivian 认为这可能是在拥挤空间充电的解决方案。该系统被称为直通充电,可以使用单一电源实现车辆间充电。

根据专利申请,该系统被配置为“可切换地从单个充电系统或其他电源向电池系统和外部系统(例如另一个电池系统)提供电力”。
在电动汽车中安装的开关装置的帮助下,电力可以被引导至充电输出耦合器,该耦合器又可以为附近的辅助车辆充电,本质上将电动汽车转换为延长线。


该专利申请还展示了组合充电标准(CCS)连接器的图纸,表明可以使用交流或直流充电方法。目前还没有迹象表明该系统是否会投入生产,但它展示了 Rivian 针对未来电动汽车成为主流时潜在充电问题的解决方案。
该系统还可以帮助在拥挤的车库中停放多辆电动汽车的车主。他们无需将电动汽车四处乱放,只需插入距离充电器最近的车辆,然后使用连接器插入第二辆电动汽车即可。
此外,今年早些时候,Rivian 申请了一项空调电动汽车充电器专利,该充电器可以在汽车下方吹出热空气或冷空气,帮助电池达到理想的充电温度,而不是依靠吸入可能太冷或太冷的环境空气。







