工作原理
根据世界知识产权组织披露,马自达该项专利已提交至德国专利商标局,并于上周正式公布。专利文件首先阐释了碳纤维板材需通过树脂浸润的工艺原理——经固化处理后,碳纤维丝不仅能获得固定形态与刚性,更可形成保护层。但由于碳纤维编织物结构致密,实现充分浸润并非易事。目前主流工艺主要分为两种:其一是在碳纤维布表面撒布粉末树脂,再通过加热辊压使其渗入织物。但专利指出,这种方法既影响材料强度又效率低下。其二是将树脂膜与碳纤维层交替叠合后热压成型,但专利认为多层裁切堆叠工序会耗费大量时间与空间,同样制约生产效率。


来源:马自达/德国专利商标局
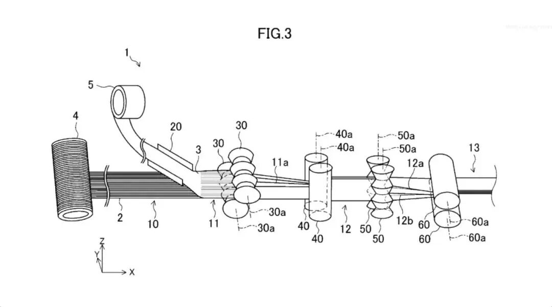
马自达的创新方案受层压技术启发,但将其简化为连续性更强的工艺流程。虽然文字描述略显复杂,但结合专利图纸便能一目了然:首先将单层碳纤维卷材展开,在其表面覆盖树脂层;随后两组辊压机构开始协同工作——首组辊轮使复合材料形成手风琴状褶皱并进行初步压合,接着次组辊轮沿垂直方向再次对材料进行折叠与压合。通过这种多向反复压褶工艺,树脂得以在纤维间充分渗透,最终形成符合零部件生产要求的预浸料。这种创新工艺既实现了层压结构的理想效果,又避免了传统多道裁切堆叠工序。专利文件还特别指出,该技术不仅适用于碳纤维或特定树脂类型,甚至可拓展至玻璃纤维、天然纤维等多元材料领域。
潜在效益显而易见
若该工艺能在实践中达到预期效果,对马自达及潜在专利授权企业都将意义重大。正如前文所述,轻量化几乎能提升车辆所有性能表现,而碳纤维的强度特性可在保证安全的前提下实现减重。降低材料成本意味着主流平价车型也能应用碳纤维,打造更轻盈、更具驾驶乐趣的汽车。想象一款大量采用碳纤维的MX-5Miata会带来怎样的驾驭体验?轻量化还将助力马自达实现能耗与排放优化——车辆重量越轻,加速所需能量越少。无论是降低燃油消耗还是电能消耗,都意味着更少的排放与能源开支。不过这项专利目前仍停留在技术文件阶段,要见证其实际应用可能尚需时日。







